
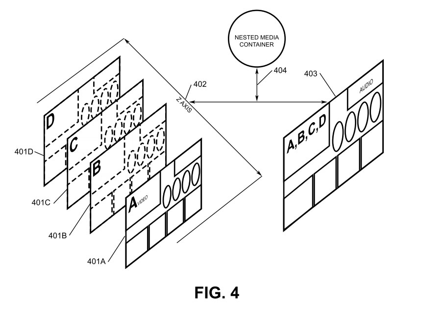
A method for the organizing, managing, mapping, distributing, transportation and displaying of multi-layered content and/or data in a tactile volumetric (three-dimensional), flat (two-dimensional) and/or multi-dimensional container and/or panel which functions as a macro controller through tactile, sensatory, audible and/or other forms of user control.
| Publication Number | Priority Date | Publication Date | Assignee | Title |
|---|---|---|---|---|
| US20160055374A1 | 2014-08-21 | 2016-02-25 | Microsoft Technology Licensing, Llc. | Enhanced Interpretation of Character Arrangements |
| US9424048B2 | 2014-09-15 | 2016-08-23 | Microsoft Technology Licensing, Llc | Inductive peripheral retention device |
| US9513671B2 | 2014-08-01 | 2016-12-06 | Microsoft Technology Licensing, Llc | Peripheral retention device |
| WO2017114362A1 | 2015-12-31 | 2017-07-06 | 华为技术有限公司 | Packet forwarding method, device and system |
| US9705637B2 | 2014-08-19 | 2017-07-11 | Microsoft Technology Licensing, Llc | Guard band utilization for wireless data communication |
| US9805483B2 | 2014-08-21 | 2017-10-31 | Microsoft Technology Licensing, Llc | Spread spectrum wireless over non-contiguous channels |
| US10191986B2 | 2014-08-11 | 2019-01-29 | Microsoft Technology Licensing, Llc | Web resource compatibility with web applications |
| US20190044988A1 | 2017-08-03 | 2019-02-07 | Shouty, LLC | Method and system for aggregating content streams based on sensor data |
| CN109525407A | 2017-09-18 | 2019-03-26 | 中国科学院声学研究所 | A kind of same layer is without intersection all standing nested generation method and readable storage medium storing program for executing |
| US10346189B2 | 2016-12-05 | 2019-07-09 | Red Hat, Inc. | Co-locating containers based on source to improve compute density |
A method for the visualization and addressing of data within a volumetric container, using XYZ coordinates represented as a vector. Whereas users build their own immersive experience, variants, and/or representations of their respective data as polygons nested within a virtual universe.
| Publication Number | Priority Date | Publication Date | Assignee | Title |
|---|---|---|---|---|
| US20160196683A1 | 2015-01-05 | 2016-07-07 | Fujitsu Limited | Simulation apparatus and vector display method |
| US10321021B2 | 2016-07-26 | 2019-06-11 | Samsung Electronics Co., Ltd. | Image pickup device and electronic system including the same |
| CN106886906A | 2016-08-15 | 2017-06-23 | 阿里巴巴集团控股有限公司 | A kind of device identification method and device |
| CN108460630A | 2018-02-12 | 2018-08-28 | 广州虎牙信息科技有限公司 | The method and apparatus for carrying out classification analysis based on user data |
A method for the organizing, managing, mapping, distributing, transportation and displaying of multi-layered content and/or data in a tactile volumetric (three-dimensional), flat (two-dimensional) and/or multi-dimensional container and/or panel which functions as a macro controller through tactile, sensatory, audible and/or other forms of user control.